2025年全国高考结束
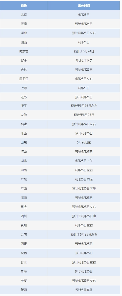
31个省份高考成绩查询时间
陆续公布
↓↓↓

在高考成绩公布前
考生和家长可以提前开始做以下准备
↓↓↓
结合考生的兴趣爱好、职业规划以及自身优势,初步确定目标院校和专业范围。
收集目标院校招生信息,包括高校的招生章程、专业设置,了解历年录取分数线、位次等数据,了解目标院校的招生政策和专业要求。
关注所在省份招生考试院发布的招生计划和政策解读,及时掌握最新的招生动态。
每年高考,总会有些不良机构或不法分子趁机寻找诈骗机会。对此,多个省份发布提示,提醒考生和家长警惕涉考骗局,不要轻信非官方渠道发布的不实信息和一些高收费的志愿填报辅导机构,谨防上当受骗。
初审: 房彦妮
复审: 王韬
终审: 张彦梅
吉网新闻热线:0431-82902222

