

网络截图
中国吉林网讯 记者 李志明 近日,有网友爆料,长春到辽源的客车票价从原来的36.5元涨到了43元,且涨价并没有举办听证会,给乘车的人来了个“措手不及”。
7月5日,中国吉林网记者针对长春到辽源客车涨价一事进行了调查。
调查:部分车次票价涨至43元
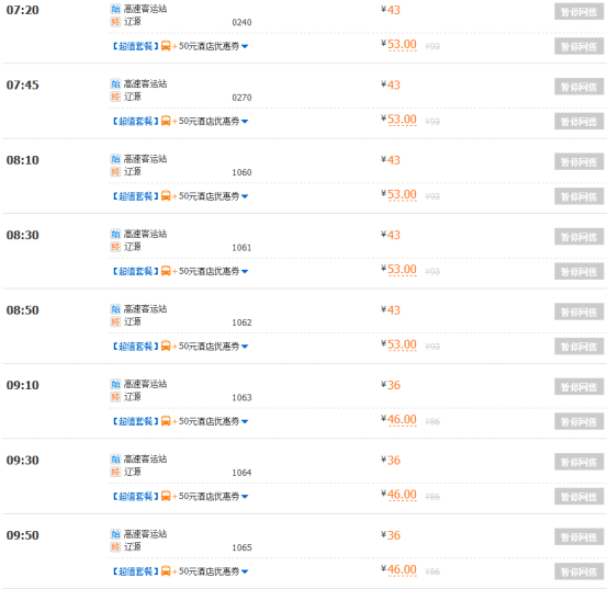
5日,中国吉林网记者来到了长春高速客运站,从长春到辽源的客车都是从这里发出。在售票窗口,记者询问长春发往辽源的客车票价时被告知,时间段和车次不同,票价也不一样,分36元和43元两种,而同样的起始地点为何会有两种不同的票价,售票人员表示并不知情。
随后,记者上网搜索了长春到辽源的的客车票价发现,从长春发往辽源的客车几乎每隔20至25分钟便会发一趟车。两种不同的票价车次也不相同。记者了解到,长春至辽源的客车票价在很长一段时间内都保持在36元左右,在最近,才有部分车次的票价上涨为43元。
据一位在此处购票的乘客介绍,之前也确实了解到了从长春到辽源部分车次的票价上调,但是并没有乘坐过43元的车次,也并不了解其中的具体原因。
票价上涨是否符合规定?
那么票价上涨究竟是由哪个部门而定?是否符合规定?
记者随后拨打了长春客运总站业务处的电话,一名工作人员给出了这样的解释。
“票价上涨是根据上级部门的统一规定进行实施,我们这都是按照正规程序而定,至于有没有车主私自将票价上调,他们并不知情。”工作人员介绍说。
而对于票价何时上涨,上调具体由哪个部门而定,该工作人员表示并不知情。
为了进一步了解票价上涨的具体原因,记者联系了吉林省物价局,据一名工作人员介绍,涉及到跨区域的票价上涨,需要两个地区的相关部门相互协商后共同制定。
“根据相关规定,两个区域的有关部门有权根据不同的条件对票价进行更改,上调和下调的幅度必须在物价局的规定范围之内。”工作人员介绍说。至于票价上涨是否需要举办听证会,该工作人员表示,客车票价的变动性较大,这种情况下可以不举办听证会,但必须在票价上调前的15个工作日进行公告。
猜测:客车升级?黑车抢活?
记者在现场也随机对前来购买车票的乘客进行了调查采访,有部分乘客认为,客车票涨价可能跟客车升级有关。
“到辽源的部分客车内部有洗手间,但至于能不能用就不知道了,我分析,应该是客车升级了,票价自然而然就涨了一点。”乘客王先生说,他经常往返长春与辽源两地,对于票价不同的事情也早就了解,但并未真正关心此事,每次都是赶上哪一车次就购买哪一车次的票。
“除了节假日,客车很少有满员的情况,在客运站和高速路口有很多拼客的私家车,估计也抢了不少客车的客源。”乘客张先生说,票价上涨也可能与这个有关。

